军迷圈

美国复合材料弹壳子弹新动态 中国应该做什么?

军迷圈

关注

文|hawk26讲武堂

近日,美国得克萨斯州真实速度公司(True Velocity)公布了他们最新研制的复合材料弹壳子弹。

这是他们应BAT防务公司(BAT Defense)的要求研制的新型弹药,目前有三种口径,分别为(左起)12.7×108mm、12.7×99mm和5.56×45mm。研制这种弹药的目的是为了减轻直升机携带这些子弹时的重量。如果仔细一点可以看到,弹壳肩部下面一点有接缝,顶部和底部是两个部分连接在一起。

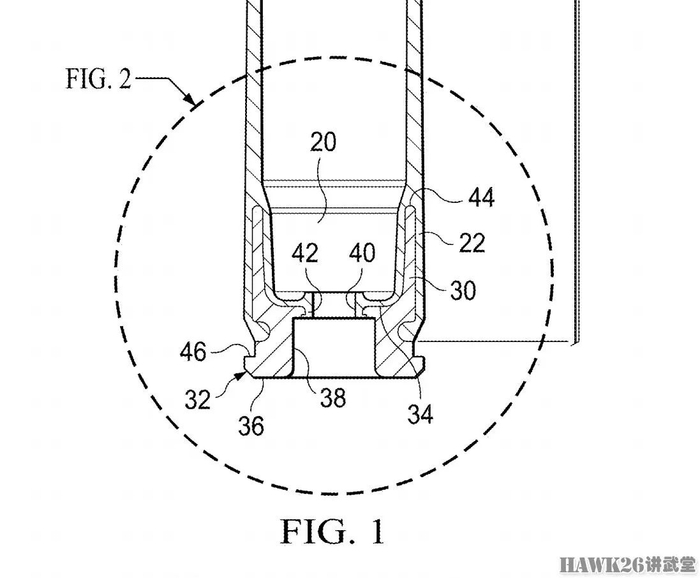
这是其获得专利的弹壳底部设计,箭头32指示的部分为钢质材料,插入复合材料弹壳底部。这种射击可以解决复合材料弹壳因为结构强度低,而无法正常抽壳的问题,从而解决了困扰复合材料弹壳发展的技术难题。而这种钢质底部的设计,也可以使复合材料的比例大幅增加,从而减少了向弹膛传导的热量,有利于持续射击。

10月,在2017年美国陆军协会(AUSA)年度会议上,通用动力陆地系统公司(GDLS,General Dynamics Land Systems)首次展示了其发射。338诺玛马格南(。338NM)子弹的轻量化中型机枪(LWMMG,Lightweight Medium Machine Gun)及其配用的复合材料弹壳子弹。

左侧为标准的铜壳。338诺玛马格南子弹,右侧为复合材料弹壳子弹,两者可以通用。金属弹壳从19世纪40年代发明以来,经过多次技术升级,才演变成现在的形制。由于弹壳采用战略意义重大的金属铜来制造,所以在20世纪50年代开始研究用铝来制作弹壳。遗憾的是,铝弹壳存在“烧穿”问题,无法使用在大威力弹药上。所以在弹壳材质方面,大多数还是铜或钢。

这是通用动力陆地系统公司研制的复合材料弹壳。338诺玛马格南子弹,可以看到弹壳上半部分为透明的聚合物,下半部分为金属弹底。这样可以保证弹底的强度,便于在没有经过任何改装的普通枪械上使用。

这种形制的复合材料弹壳子弹比较成熟,在去年美军射击比赛中,就已经试用过类似的。264英寸(6.7mm)子弹。

这是该种子弹的生产方式,聚合物弹壳下部有多道环形结构与金属弹底相互咬合。

这是美国FightLite公司推出的复合材料弹壳子弹,内部也有金属弹底。

然而,本人要提醒大家,复合材料弹壳子弹并非那么容易研制成功的,需要有大量的技术积累才能完成。这是美国PCP公司研制的复合材料弹壳子弹,也采用了金属弹底和组合式聚合物弹壳。

这是其弹壳组装示范,看上去还很像样。

但是,在射击时出现大量炸壳故障。

甚至将差点出现伤亡情况,以至于PCP公司紧急召回了这批产品。

走过这个弯路之后,PCP公司重新回到保守路线,并将这批复合材料弹壳子弹交付美军试用。

而对于美国正在研制的塑料埋头弹药,本人想说的是,以国内的水平来看,距离实用还有很远的路要走。还是先解决发射常规弹药枪械的研制、生产问题,再以此基础研制能够通用的复合材料弹壳子弹,然后再谈塑料埋头弹药。

欲速则不达,一步到位固然好,步子迈得太大很容易扯蛋。

本文由军迷圈转码显示查看原文

加载中...